
CiberMedio es un portal de noticias en línea y fuente de contenido técnico y digital para su audiencia en todo el mundo. Puede contactarnos por correo electrónico
editor@Cybermedio.com

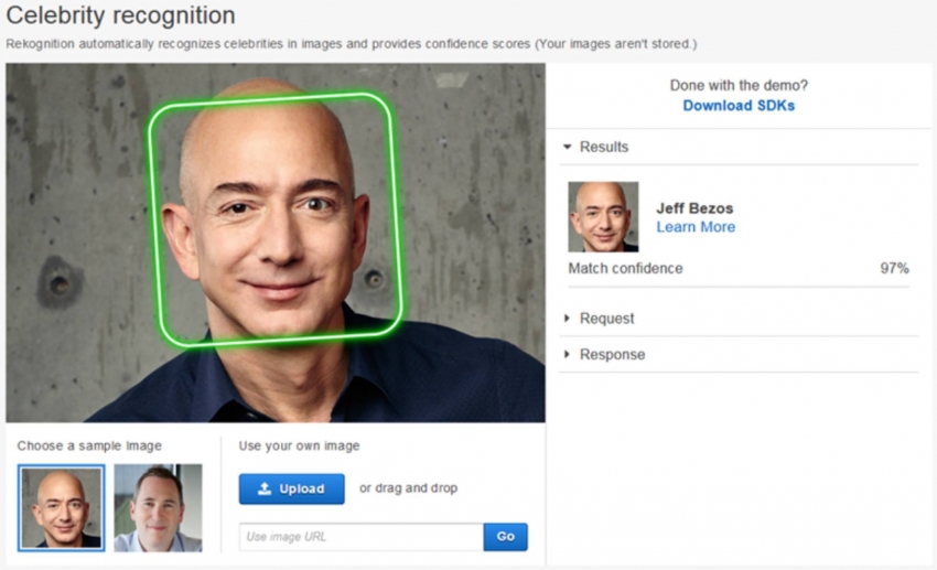
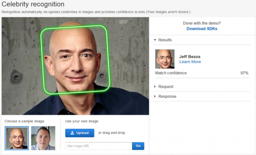
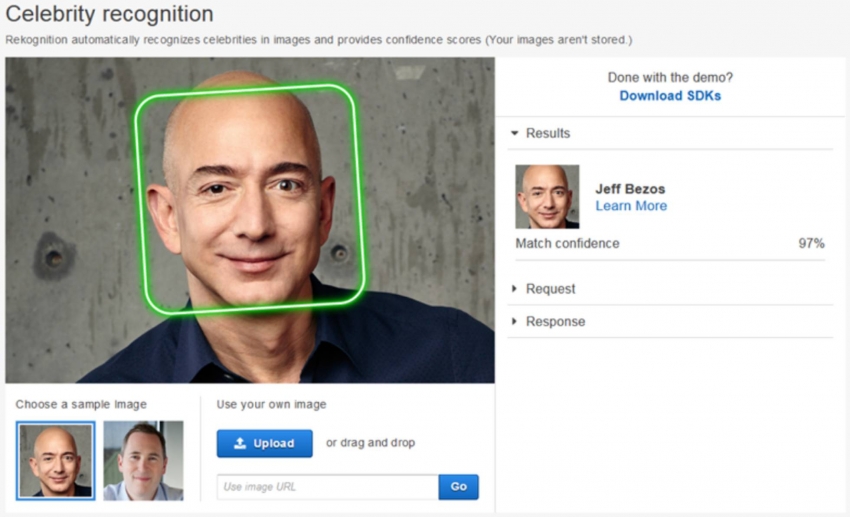
La Unión Estadounidense por las Libertades Civiles (ACLU, por sus siglas en inglés) ha puesto a prueba el sistema de reconocimiento facial de Amazon.
Y los resultados han sido sorprendentes. La organización ha escaneado con el programa Amazon Rekognition las caras de los 535 miembros del congreso de Estados Unidos y las ha confrontado con 25.000 fotografías públicas de sospechosos de la policía. El sistema ha confundido a 28 congresistas con posibles delincuentes. Este hallazgo, sostiene la ACLU, muestra el peligro de que los organismos oficiales usen este tipo de tecnología.
"Que una identificación sea precisa o no puede costarle a una persona su libertad o incluso su vida", explica la ACLU en un comunicado. Este sistema de reconocimiento facial, según afirma la organización, ya es utilizado por algunas instituciones. Por ejemplo, un departamento de la policía en Orlando, lo ha usado en una prueba piloto. "El Congreso debe tomarse en serio estas amenazas, pisar el freno y promulgar una moratoria sobre la aplicación de la ley para el reconocimiento facial", ha expresado.
Un portavoz de Amazon ha atribuido los malos resultados a una mala calibración del sistema, según recoge el diario especializado en tecnología The Verge. Las pruebas realizadas por la ACLU se han realizado con el umbral de confianza predeterminado por el programa, que es de un 80%. Pero la compañía recomienda que organismos oficiales como el Gobierno o la policía usen un umbral de un 95%, ya que las consecuencias de una equivocación pueden ser graves: "Una identificación podría costarle a la gente su libertad".
"Aunque el 80% de confianza es un umbral aceptable para las fotos de perritos calientes, sillas, animales u otros casos en las redes sociales, no sería apropiado para identificar individuos con un nivel razonable de certeza", ha explicado al mismo medio el portavoz. No obstante, el programa no recomienda en el momento de su configuración que el umbral sea del 95% y no hay nada que impida que estos organismos utilicen la configuración predeterminada, según señala The Verge.
El reconocimiento facial de Amazon confundió a 28 congresistas con delincuentes
— Jimmy Rosario B. (@rosariojimmy) 27 de julio de 2018
La organización sin fines de lucro Unión Estadounidense por las Libertades Civiles (ACLU) puso a prueba la tecnología de reconocimiento facial de Amazon, Rekognition. #jimmyrosario #hablandoendigitos pic.twitter.com/azHboxp2fN
La prueba realizada por la ACLU pone también de relieve la amenaza que el sistema de Amazon puede representar para las personas negras. Casi el 40% de las coincidencias falsas en este análisis se correspondían con las fotografías de personas de color, pese a que estas solo representan a un 20% de los congresistas.
Amazon Recognition ya fue objeto de polémica en mayo, cuando un informe de la ACLU determinó que el sistema estaba siendo utilizado por diferentes organismos oficiales. La policía de Orlando, según la asociación, usaba un programa piloto que usaba este sistema en tiempo real. El programa es muy económico, ya que tiene un coste de 12 dólares al mes —unos 10 euros— para un departamento entero.
Ing en sistemas, Programador Web, Analista de Sistema, Comunicador y amante del conocimiento
www.prowebrd.com