El varapalo judicial sufrido por Apple en un juzgado de California por el plagio de dos patentes a la empresa canadiese WiLAN parece no haber afectado a la confianza que…
Google está preparando una aplicación móvil de su motor de búsqueda específica para el mercado chino que censurará los resultados de acuerdo con la voluntad y las reglas de las…
Suena el móvil de forma inesperada y arruina la siesta; es un centro de llamadas con una oferta de tarifa telefónica, una propuesta de seguro o información de precios de…
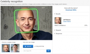
La Unión Estadounidense por las Libertades Civiles (ACLU, por sus siglas en inglés) ha puesto a prueba el sistema de reconocimiento facial de Amazon.
Sony ha anunciado el sensor para cámaras de smartphones IMX586, el primer sensor fotográfico de 48 megapíxeles de resolución, que cuenta con un tamaño de píxel de 0,8 micrómetros y…
Si estás dentro de la aplicación, aparecerá una señal verde al lado de tu foto, lo que indica a tus amigos que estás online
Los analistas advierten de que los excesos del fundador de Tesla en Twitter y sus críticas a la prensa puedan terminar afectando al negocio
Google acaba de invertir 22 millones en un sistema operativo desconocido pero que puede llegar a tener un alto valor estratégico para la compañía. Se trata de KaiOS, un software…
WhatsApp da un paso más para luchar contra la desinformación y las noticias falsas.